yourming.com 请给这个邮箱的二次密保验证重置一


问:yourming.com 请给这个邮箱的二次密保验证重置一下,我们重新设置
现在客户忘记了密保问题,进入不了,yourming.com 请给这个邮箱的二次密保验证重置一下,我们重新设置
答:您好,已清除了,您再登录重新设置下,非常感谢您长期对我司的支持!
问:这个客户说,有人 伪造他们 alice@yourming.com 这个邮件地址,发信到马来西亚,发了收款方式还盖了他们公司的公章,然后就骗走了马来西亚客户的钱,这个该怎么办?
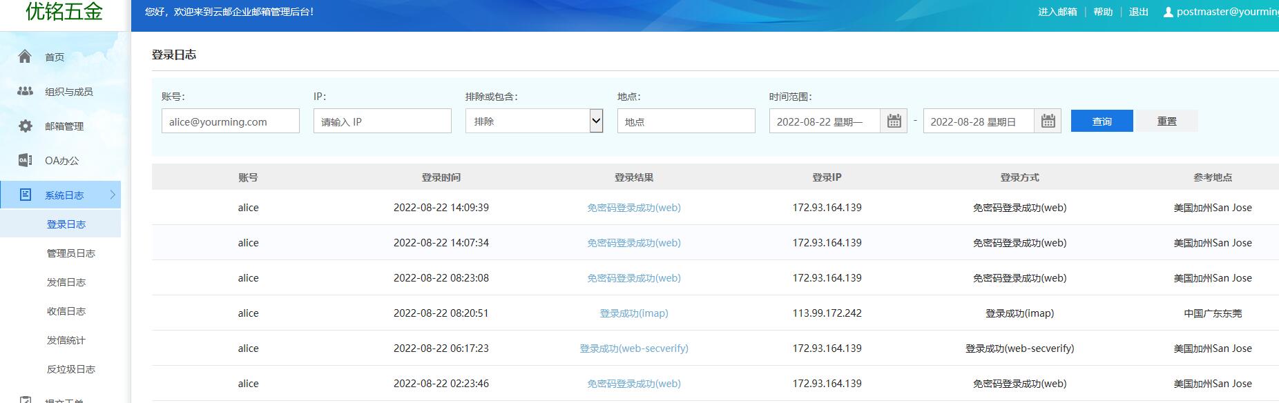
问:
这个邮箱的登录日志,怎么回事?
问: 发信日志
请你们查好,回复我们哦
问: 客户这边发送给马来西亚的真邮件截图
问: 马来西亚那边被骗的客户提供过来的截图,马来西亚那边收的的诈骗邮件
问:请把我们上述问题,都 一 一 回复哦
问:
你们看下,我们网址里的 DKIM 和 DMARC 解析设置的是否正确?
答:您好,检查DKIM 和 DMARC 解析设置正确的,非常感谢您长期对我司的支持!
问:
客户说现在收不到邮件了,10分钟了,请见截图
答:您好,查看日志有接收到 的邮件,请用户核实下是否在已删除邮件中,非常感谢您长期对我司的支持!
问:会不会因为 加了 DKIM 和 DMARC 认证,邮件跑到垃圾邮箱了?
问:客户说,现在收的 pwyong@printronix.com的邮件 在她电脑 foxmail的 alice@yourming.com 的已删除邮箱里,客户问 是不是她邮箱中毒了
问:http://mail.dgtaituo.cn 新开邮箱空间,请给二次密保问题验证的关闭,不然进入不了邮箱的管理面板
答:您好,
二次验证是需要用户自行设置的,新开邮箱登录后需要您设置二次密保验证,您自行设置即可,非常感谢您长期对我司的支持!
问:反复提示设置,进入不了,用不了
答:您好,
二次验证必须设置后才能进入,请先设置后进入邮箱管理,若确实不需要,再关闭该功能即可, 但这边建议保留二次验证,避免因邮箱信息泄露导致被恶意收发或重要数据遗失,非常感谢您长期对我司的支持!
问:你都根本对你们邮箱不懂啊,我们发的消息,你也看不明白
http://mail.dgtaituo.cn 新开邮箱空间,请给二次密保验证问题 关闭,不然进入不了邮箱的管理面板,反复提示设置;设置了也没用,反复提示设置
答:您好,已经帮您关闭了,您清除缓存重新刷新再登陆试下,非常感谢您长期对我司的支持!
